Global settings English (US) | mm

Languages
Unit
Cancel
Apply
E-Catalog
Milling
Main Application
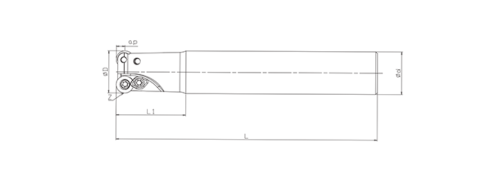
Product No.
Designation
D
d
L1
L2
L
Z
Max.ap
Clamping Screw
Wrench
Clamping Piece
M1014047
ERP-6R-C32-35-150L-3T
35.0
32.0
50.0
-
150.0
3.0
6.0
TT1012
TRP12
TRS12