Global settings English (US) | mm

Languages
Unit
Cancel
Apply
E-Catalog
Milling
Main Application
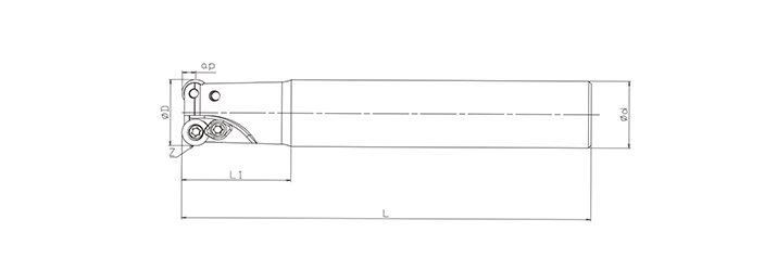
Product No.
Designation
D
d
L1
L2
L
Z
Max.ap
Clamping Screw
Wrench
Clamping Piece
Insert type