Global settings English (US) | mm

Languages
Unit
Cancel
Apply
E-Catalog
Milling
Main Application
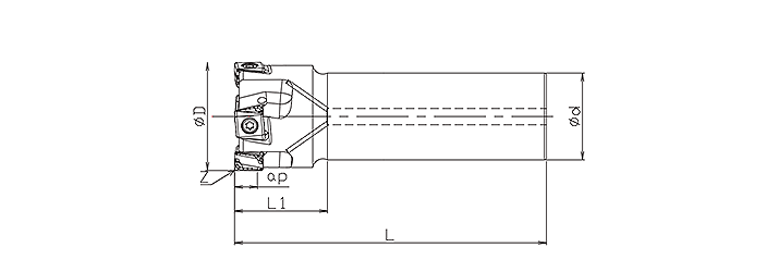
Product No.
Designation
D
d
L1
L
Z
Max.ap
Clamping Screw
Wrench
M2233009
TLXE90-40R04D32LX11L115
40.0
32.0
35.0
115.0
4.0
9.7
TLX1107
TLXMS11