Global settings English (US) | mm

Languages
Unit
Cancel
Apply
E-Catalog
Milling
Main Application
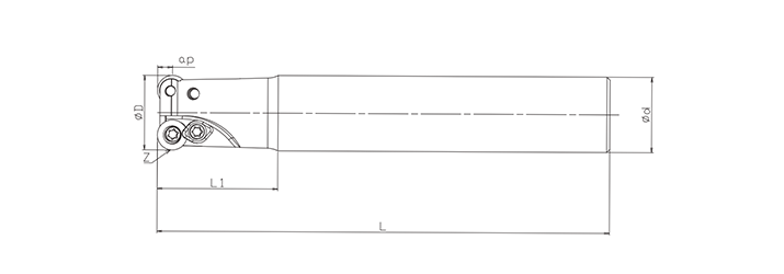
Product No.
Designation
D
d
L1
L
Z
Max.ap
Clamping Screw
Wrench
Clamping Piece
M2215010
TRDE6R-32R03D32RD12L200
32.0
32.0
45.0
200.0
3.0
6.0
TR1012
TRP12
TRS12