Global settings English (US) | mm

Languages
Unit
Cancel
Apply
E-Catalog
Parting,Grooving
Main Application
Product No.
Designation
Workpiece material
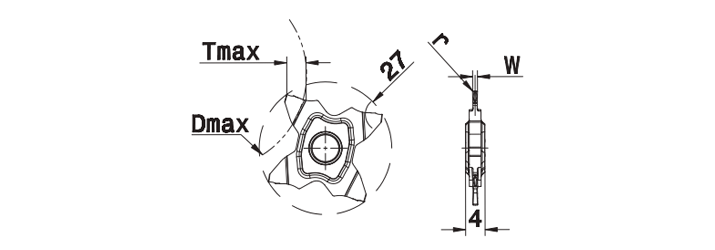
W
r
Tmax
T≤3.0
T≤3.5
T≤4.0
T≤4.5
T≤5.0
T≤5.5
T≤5.7
T≤6.0
T≤6.2
T≤6.4
T1101246
TTS27-1.00-0.10-TG1230
P、M、K
1.0
0.1
3.5
600.0
-
-
-
-
-
-
-
-